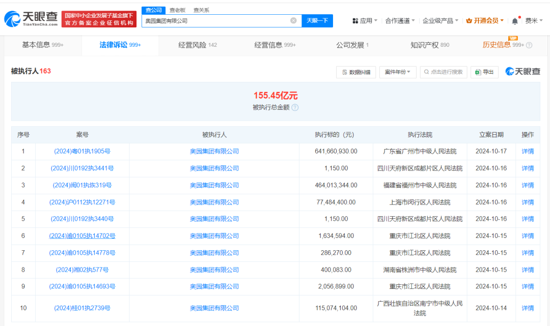
奥园集团现存160余条被执行人信息,被执行总金额超155亿元
标点财经、投资时间网快讯
天眼查法律诉讼信息显示,近日,奥园集团有限公司、广州奥晖置业有限公司、广州东龙投资有限公司新增1条被执行人信息,执行标的6.4亿余元,涉及金融借款合同纠纷案件,执行法院为广东省广州市中级人民法院。
奥园集团有限公司成立于1998年5月,法定代表人为林显团,注册资本61.1亿人民币,经营范围含房地产咨询、房地产经纪、物业管理、互联网销售等,由广东奥园置业有限公司、ADD LION PROFITS LIMITED共同持股。




参与评论