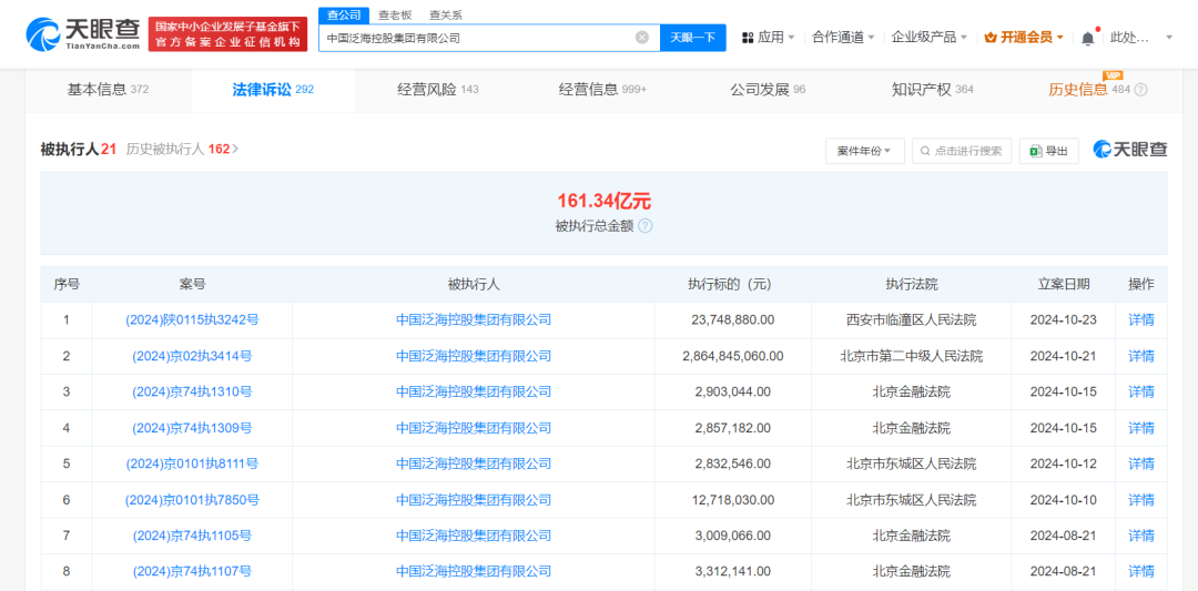
该公司现存21条被执行人信息,被执行总金额超161亿元
标点财经、投资时间网快讯
近日,中国泛海控股集团有限公司、通海资本投资管理有限公司、通海控股有限公司新增一条被执行人信息,天眼查法律诉讼信息显示,执行标的为28.6亿余元,执行法院为北京市第二中级人民法院。
中国泛海控股集团有限公司成立于1988年4月,法定代表人为卢志强,注册资本200亿人民币,由泛海集团有限公司、通海控股有限公司共同持股。
天眼风险信息显示,该公司现存21条被执行人信息,被执行总金额超161亿元,此外,该公司还存在多条限制消费令、终本案件及股权冻结信息。




参与评论