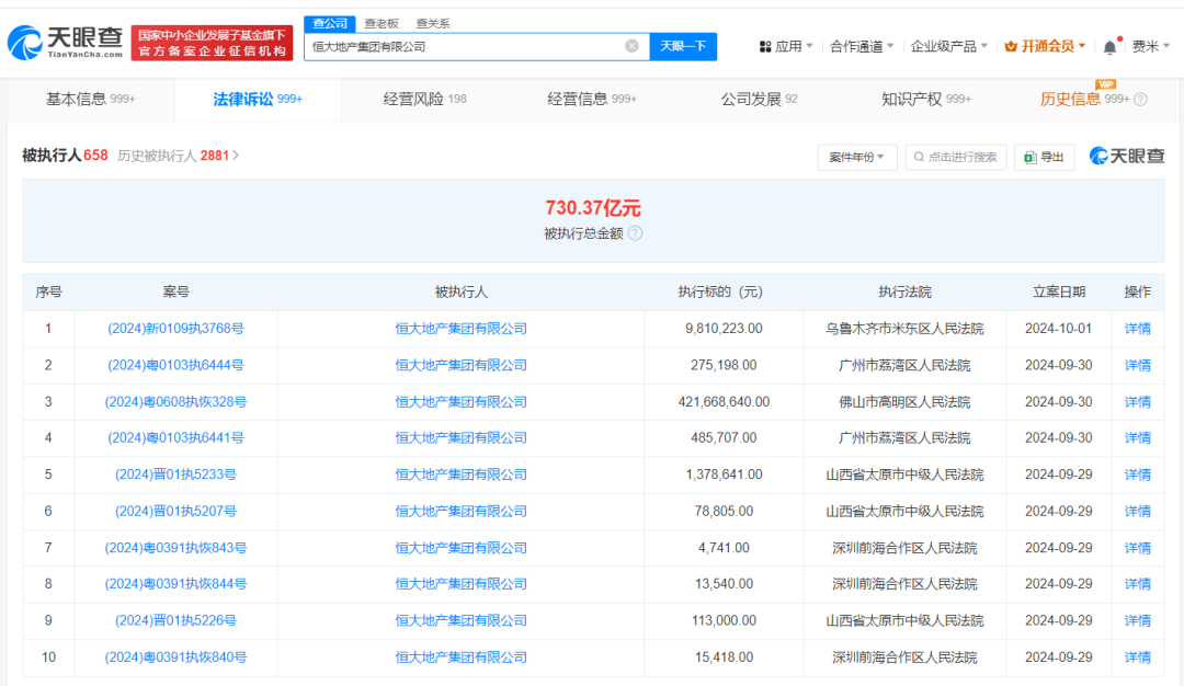
恒大地产集团有限公司现存650余条被执行人信息,被执行总金额超730亿元
标点财经、投资时间网快讯
天眼查法律诉讼信息显示,9月30日至10月1日,恒大地产集团有限公司新增4条被执行人和恢复执行信息,执行标的合计4.3亿余元,涉及借款合同纠纷等案件,部分案件被执行人还包括佛山市高明高协和房地产开发有限公司、广东江门船厂有限公司等,执行法院为佛山市高明区人民法院、广州市荔湾区人民法院、乌鲁木齐市米东区人民法院。
天眼风险信息同时显示,恒大地产集团有限公司现存650余条被执行人信息,被执行总金额超730亿元。此外,该公司还存在多条限制消费令、失信被执行人(老赖)及终本案件信息。




相关文章