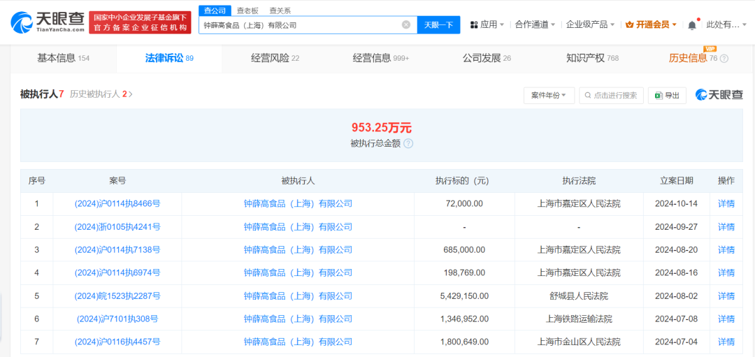
该公司现存7条被执行人信息,被执行总金额超953万元
标点财经、投资时间网快讯
天眼查法律诉讼信息显示,近日,钟薛高食品(上海)有限公司新增一则被执行人信息,执行标的7.2万元,涉及上海索盎信息科技有限公司与其相关网络服务合同纠纷案件,执行法院为上海市嘉定区人民法院。
钟薛高食品(上海)有限公司成立于2018年3月,法定代表人为林盛,注册资本约12.03亿人民币,由Gloryseed HK Limited全资持股。
天眼风险信息显示,该公司现存7条被执行人信息,被执行总金额超953万元,此外还存在多条限制消费令及股权冻结信息。




参与评论