金鼎俱乐部有限公司因未依照规定的期限公示年度报告,被海口市市场监督管理局列入经营异常名录
投资时间网、标点财经快讯
天眼查App显示,近日,金鼎俱乐部有限公司因未依照规定的期限公示年度报告,被海口市市场监督管理局列入经营异常名录。
该俱乐部成立于2005年6月,法定代表人为陈峰,注册资本5000万人民币,经营范围为面向俱乐部会员的康体健身场所以及游艇等娱乐设施的管理,为会员提供运动、保健、养生咨询服务,为会员提供票务、酒店预定服务,为会员提供会议活动组织和经济信息咨询,旅游项目开发。
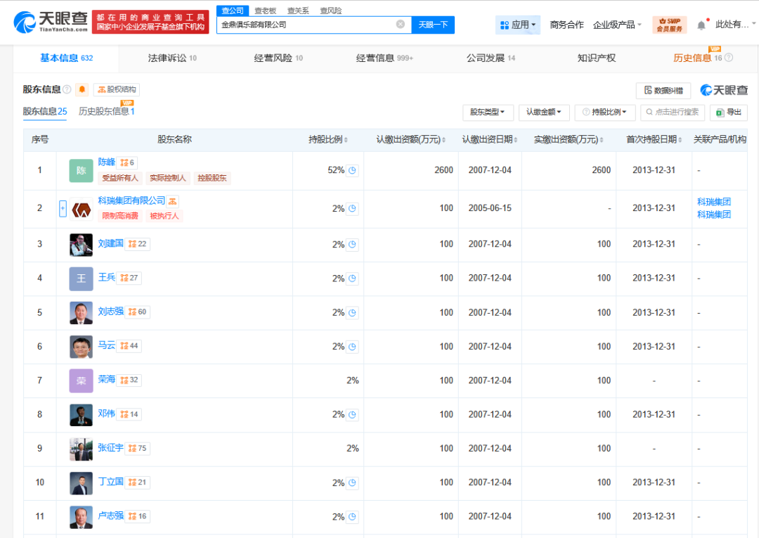
股东信息显示,该公司由陈峰、马云、刘永好、郭广昌等25位股东共同持股。




相关文章