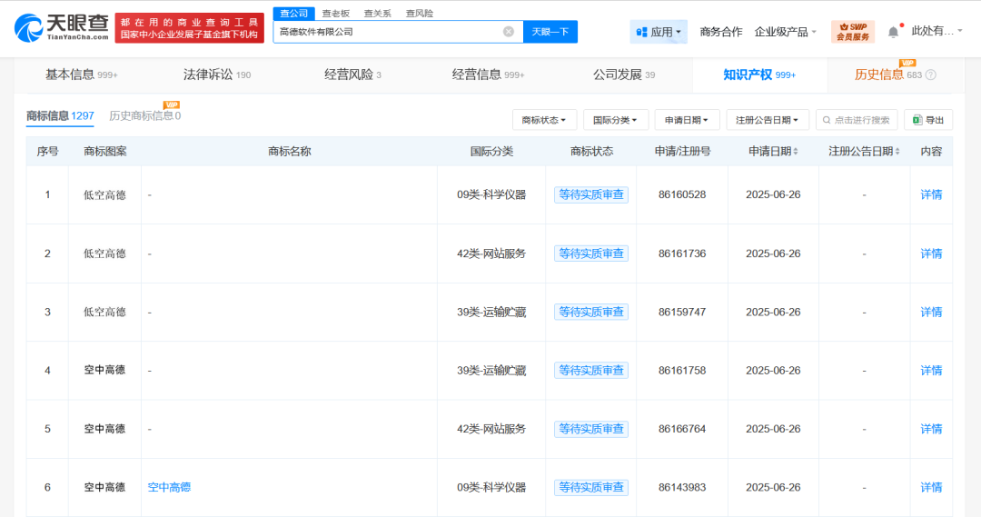
高德软件有限公司申请注册“低空高德”“空中高德”商标,国际分类为科学仪器、网站服务、运输贮藏
投资时间网、标点财经快讯
天眼查知识产权信息显示,近日,高德软件有限公司申请注册“低空高德”“空中高德”商标,国际分类为科学仪器、网站服务、运输贮藏,当前商标状态均为等待实质审查。
高德软件有限公司成立于2001年9月,法定代表人为董振宁,注册资本约6.42亿人民币,经营范围含技术进出口、进出口代理、计算机软硬件及辅助设备批发、计算机软硬件及辅助设备零售、互联网信息服务等,由杭州宝轩投资管理有限公司全资持股。




相关文章