锤子科技(成都)股份有限公司新增2条被执行人信息,执行标的合计2142万余元,执行法院为北京市海淀区人民法院
投资时间网、标点财经快讯
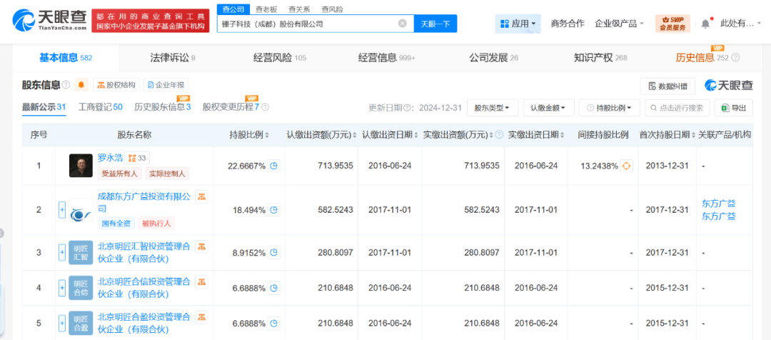
天眼查App显示,近日,锤子科技(成都)股份有限公司新增2条被执行人信息,执行标的合计2142万余元,执行法院为北京市海淀区人民法院。
锤子科技(成都)股份有限公司成立于2012年5月,法定代表人为管志良,注册资本约3149.8万人民币,经营范围含基础软件服务、应用软件服务、组织文化艺术交流活动、承办展览展示活动等。主要人员信息显示,罗永浩在该公司担任董事长并持股约23%。




相关文章