该公司实际控制人、最终受益人均为王靖
投资时间网、标点财经快讯
4月16日,上海丝芭文化传媒集团有限公司发布官方讣告:创始人王子杰去世 。
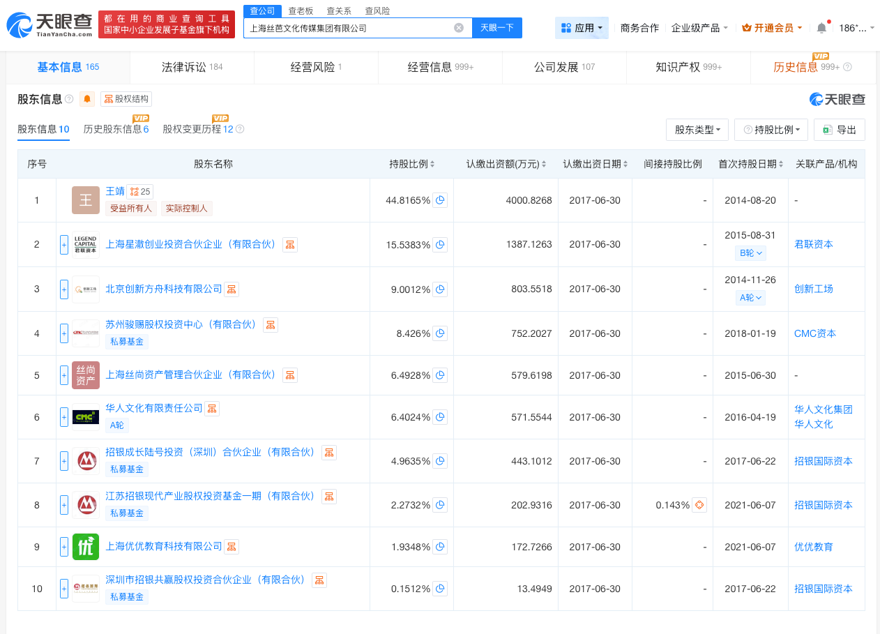
天眼查App显示,上海丝芭文化传媒集团有限公司成立于2010年5月,法定代表人为王靖,注册资本约8927万元人民币,经营范围包括营业性演出、演出经纪、广播电视节目制作经营等,由王靖、上海丝尚资产管理合伙企业(有限合伙)等共同持股。
引人关注的是,该公司实际控制人、最终受益人均为王靖。公开信息显示,王靖为王子杰妹妹。
从天眼查App信息可见,王子杰(Oji Takeshi)名下关联多家企业,目前企业状态为注销或被吊销,包括依星软件(上海)有限公司、上海久之耀信息科技有限公司分公司等,王子杰(Oji Takeshi)在上述企业担任法定代表人、负责人等。
风险信息显示,该公司涉及数百起案件,案件身份多为原告,案由涉及不正当竞争纠纷、合同纠纷、商业贿赂不正当竞争纠纷等。2026年以来,该公司曾多次被起诉。
天眼查App同时显示,上海丝芭文化传媒集团有限公司的2025年年报信息显示,该公司参保人数仅为2人,而2024年年报参保人数为71人,减少69人。



相关文章