×

专业 · 专注 · 垂直
内容 · 数据 · 平台

10.9亿执行标的来袭!家居巨头承压

长按扫码
查看详情

投资时报首页 > 资讯 > 正文

10.9亿执行标的来袭!家居巨头承压

资讯 2025-08-06 15:29:46 30113 分享: 字体大小:Aa-Aa+

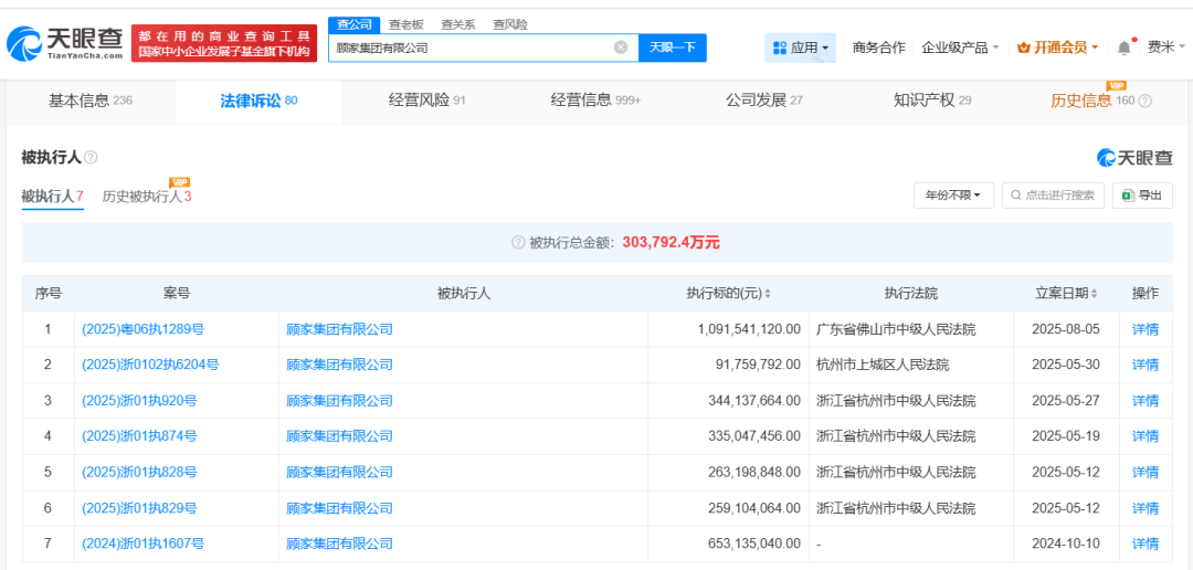
顾家集团有限公司、顾江生等新增一则被执行人信息,执行标的10.9亿余元

投资时间网、标点财经快讯

天眼查天眼风险信息显示,8月5日,顾家集团有限公司、顾江生等新增一则被执行人信息,执行标的10.9亿余元,执行法院为广东省佛山市中级人民法院。

该公司成立于2008年12月,法定代表人为顾江生,注册资本约1.1亿人民币,经营范围包括实业投资、企业管理咨询、货物进出口等。股东信息显示,该公司由王火仙、顾江生、王才良、王丽英共同持股。


标签:

公司
×

登录您的账号

还没有账号? 注册
  • 忘记密码
  • 使用第三方账号登录

×

登录您的账号

还没有账号? 注册
  • 发送验证码
  • 使用第三方账号登录

×

注册您的账号

已有账号?
  • 发送验证码
×

忘记密码

输入与您的帐户关联的邮箱,我们将通过邮箱验证码来重置密码。
  • 发送验证码
微信

微博